电子镇流器改装应用 废弃电子镇流器改速热电烙铁

小编头像

小编

管理员

发布于:2025年05月04日

110 阅读 · 0 评论

废弃电子镇流器改速热电烙铁

前些天做了个zvs速热铬铁,今天见手头有几个淘汰了的电子镇流器感觉原理上也可加以发掘利用,于是先短路了它的灯丝一端,拿了个12V车用顶灯灯泡作负载,功率表显示有20W,贼亮!看来也是可以做速热铬铁了。

因手上没有合适的漆包线,用一根较粗的塑料多股导线在原电感上绕了三圈,原电感的线路不动,串在输出回路,灯丝二端短路,保留原高频振荡电容(这个电容不用会导致输出功率不够)。

试机按下按钮铁丝立即冒烟,化锡也太快了,大焊点也不惧!比那个zvs电路还给力!{:013:}

也不必担心市地隔离问题,经电感改制的高频变压器输出的低压大电流还是安全的,当然市地输入端及开关处必须做好绝缘。

改正后的铬铁头连接件

短路灯丝二端

电子镇流器原封不动,只在原电感线圈上绕了三匝

视频加载中...

主要是改制极简单,只要你有废弃不用的20W以上的电子镇流器,几乎不用另外零配件拿来就可上手,就准备一个输出连接头,0.5米多股导线外加一个普通铁夹子上的铁丝手柄改成铬铁焊嘴就行了,也不用做手柄,原镇流器外壳就能充当了还有利于整体散热,里面有青壳纸绝缘。

电子镇流器改制手机充电器的方法

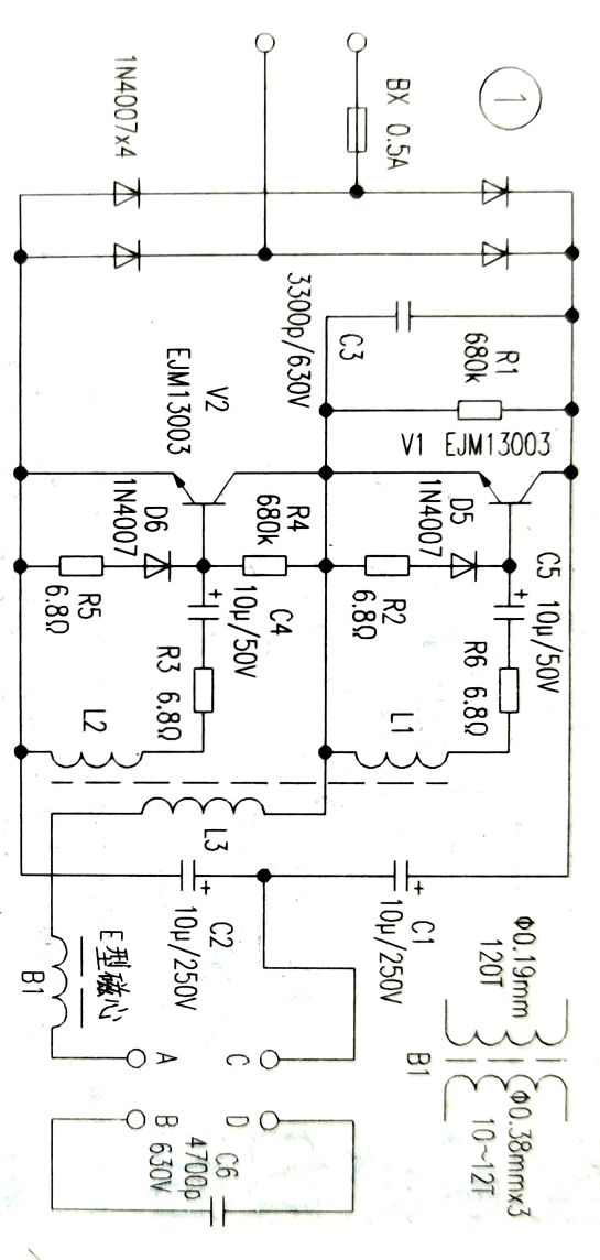
利用电子镇流器图1

为实物绘制的该电子 镇流器线路图,改制成为充电 电源,用于对手机锂电池 的充电,取得了满意的效果。

改 制方法如下:

把图1中的C1、C2更换为 330nF~680nF/630V涤纶电容, C6从线路板上拆下不用。

把B1 从线路板上拆下后小心取出E 型磁心;再把其线圈拆除约20 匝(用万用表测量剩下的线圈 电阻值应为2.5欧左右),作绝缘 处理后用0.38mm漆包线三股 并绕10~12匝作为次级输出线 圈。然后装上磁心并用胶带扎 紧磁心再焊回原线路板上。

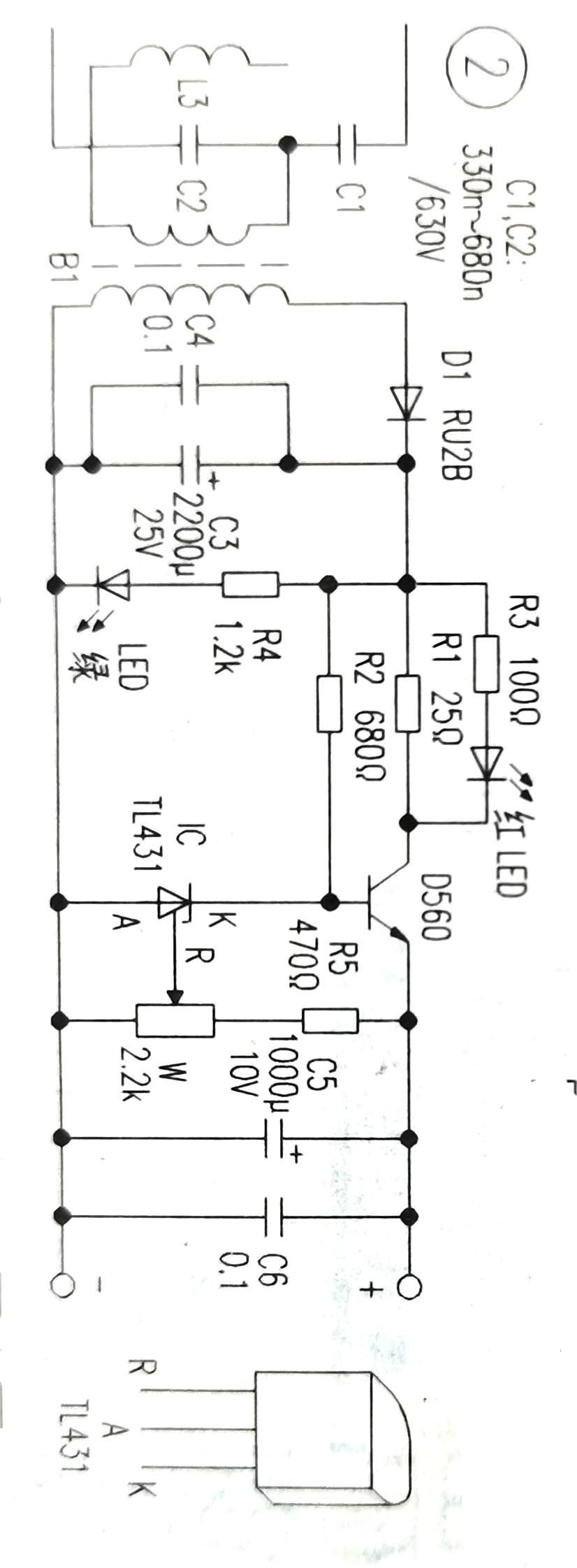
再 把A、C两点连接上即可(通电测次级电压输出应为12V左 右) 图2为整流、稳压输出电路 图。

釆用TL431精密稳压器件, 从而大大提高输出电压的稳定 性。

整流管D1一定要釆用高速 快恢复二极管,其他元件的选 取无特殊要求,将所有元件焊 接在3cm×4cm线路板上并检查 无误后,可通电调试。调W使输 出电压为4.15V即可。

最后,把 电子镇流器(作为12V交流电 源)和整流稳压这两块线路板 起装在小塑料盒内,并引出 输出线,则该充电器改制完成。

本充电器还可以用于对镍 镉、镍氢电池的充电(只需调整 R1的电阻值使电流达到要求 调W使输出电压适合即可)。

感谢阅读

相关问答

镇流器 灯管改led灯管接线法?-楼盘网

[最佳回答]1、先拆下荧光灯管上的启动器,镇流器有接线端口,其上的导线要拆除,拆下的两根导线进行短路。2、之后把端口a与B上的两条导线短相接,将它们连接到电...

曰光灯 电子镇流器 改变压器怎样方便快捷?

不好改,因为2000w的大功率,镇流线圈的线径粗,圈数少,只能用作次级线圈,而初级线圈圈数多,没地方绕制了。真的要改只能利用其铁芯,初级、次级线圈都是重新...

一拖二电感 镇流器 改led?

原来的电感镇流器,拆除,装上整流器,并调整电压,使适合LED的电压要求。注意要串上一个电阻。阻值大小要根据LED的多少和驱动电路确定。原来的电感镇流器,拆除...

日光灯 电子镇流器 改led驱动电路?

日光灯镇流器,不论电感式或电子式电路原理和led灯驱动器电路原理完全不同,驱动器基本就是个降压、整流、稳压限流电路,属直流电源类电路。电感式的镇流器上元...

怎么才能把 电子镇流器 功率改大?

要改的地方太多,一般没必要。如改首先三极管要换功率大些的,电感要换磁芯规格大些的,漆包线径换粗些的,电感骨架上漆包线圈数也相应要少绕些,磁芯间隙也要...

本田喜悦小公主,交流改直流改磁电机线,再换个直流整流器,会不会烧掉?

五羊本田的喜悦100小公主,只要改装磁电机线圈的方法正确,以及改装线路的接线方法正确,所换的直流整流器匹配,就举烧掉,改装或接线不对、所换配件不匹配才可...

请教如何把 电子镇流器 改成输出DC12V 2A的开关电源?谢谢?

有一种输出接12伏灯泡的射灯电子镇流器,电路图基本同上。在12伏输出端窜一个高频整流二极管,再并联个滤波电容。就可得到直流12V了。但不知电压是否稳定。有...

led直灯管装进 电子镇流器 ,怎么改?

LED直灯管是不能将电源适配器装进灯管里面的,一是空间不足,一是本身LED灯珠发热,再加上电源适配器在管内发热,会影响LED灯正常工作的。LED直灯管是不能将电源...

电子镇流器 的好处?

原理:将交流电整流后再进行高频振荡,改由高频高压加在日光灯两端,由于该高频振荡电路连接负载的能力较差,当日光灯被高压电点亮后,高频电压的电压自动降低(约...

四十瓦的 电子镇流器 可以托二十瓦的灯管吗后果怎样?

不可以。日光灯管和镇流器功率应匹配使用。不管是电感式镇流器还是电子式镇流器,在启动灯管时都会产生一个高压脉冲击穿管内气体为灯丝提供电流通路,并随即提...

标签:

相关阅读