电子电气应用专业 电气类专业介绍:包括哪些专业?有什么特点?发展前景如何?

小编头像

小编

管理员

发布于:2025年05月04日

111 阅读 · 0 评论

电气类专业介绍:包括哪些专业?有什么特点?发展前景如何?

有时候,我总觉得,人类的发展其实并不是很快。比如,电和发电这些事。电的发现比较早,18世纪的科学家就开始研究了。发电机是法拉第第一个发明出来的,在19世纪30年代。到了19世纪末,特斯拉的交流发电机投入了使用。到了21世纪,我们对电力和电的需求越来越大,电变得越来越重要,是我们整个社会运转的最重要的物质了。

电气类专业在21世纪,依然是个热门专业。我惯常推荐的次序是:计算机、电子信息、自动化和电气类专业。

今天就来聊聊电气类专业。

电气类有哪些专业?

根据2021年最新版的大学专业目录,电气类一共有7个专业,能源互联网工程是2020年刚设立的专业。

080601

电气工程及其自动化

080602T

智能电网信息工程

080603T

光源与照明

080604T

电气工程与智能控制

080605T

电机电器智能化

080606T

电缆工程

080607T

能源互联网工程

电气工程及其自动化

电气工程及其自动化,这是电气类专业中最大、最常见的一个专业,主要讲的是发电,产生电能;变电,通过变电站把电压升高;输电和售电;电的储存;电机、变压器的设计,另外各种电器的设计和控制等等内容。

大家可能会对专业名称中的“自动化”比较奇怪,自动化一开始不是独立产生的,而是在类似电气、化工等大型工业系统中产生,需要对这些设备和系统进行自动控制。对于主要为发电厂、电网等企业培养人才的“电气工程”来说,一定要学习“自动化”的相关内容。

主要的课程包括:电磁场理论、电路原理、模电数电、电机学、电力电子、电力系统、计算机、信号与系统、自动控制等等。

下面讲讲哪些学校比较强。

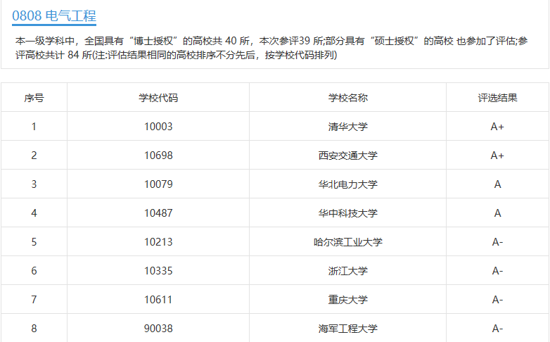
我一开始就说,电力已经存在了很多年,所以电气工程及其自动化是一个非常古老的专业。我们国家很多理工类大学从开始创建,就有这个专业。下图是第四轮学科评估的结果,图上的学校都是电气强校。

其中,清华、西交大、华科大、浙大被称为“二龙四虎”中的四虎。华北电力大学和武汉大学被称为“二龙”。“二龙”其实算是行业大学。曾经我国的不少大学是属于各部委的,电力工业部曾经有16所部属大学。武汉大学合并掉的武汉水利电力大学和华北电力大学都是电力工业部下属的大学。

现在学电气工程最好的出路之一就是去电网工作,电网招人最多的就是这些行业校,曾经的电力工业部的直属院校,像华北电力大学、上海电力大学、三峡大学、长沙理工大学、南京工程学院等等。

不过,电气工程及其自动化除了去电网,还可以去一些电气类公司工作,比如西门子、格力、美的等等。下图是格力招聘的专业要求。

从这个专业的描述来看,大家可以看到,几乎通吃跟电气相关的上下游、各个行业,极为对口。

智能电网信息工程

智能电网信息工程,这是2010年新开设的专业。顾名思义,就是电网+智能信息,电网供电更智能化,能智能接入,用电设备启动,它精准供电,也能远程查看用户的用电数,或者远程启动家用电器等等。有了物联网的概念,大家应该很好理解。

课程也很好理解,除了电气工程及其自动化那些课程外,还需要加强智能相关的课程,主要是传感器技术、嵌入式设计、智能电网等相关知识。不过,由于本科时间有限,跟电气工程及其自动化的区别不是太大。但名称不一样,有时候会有风险,就是某些单位招生时,可能不认这个专业。

第一个开设这个专业的是华北电力大学,南京邮电大学。这个挺有趣,华北电力大学是电气行业校,而南邮属于通信类的行业校。

不过,我并不是建议大家读这个专业。因为本身电气工程及其自动化的课程就不少,再加上弱电,课程就更多了,很容易读得不伦不类,而且从读研的方向来看,属于电力系统。因此,不如一开始读传统专业,到读研时,再研究也来得及。

光源与照明

光源与照明。这是个有意思的专业,其实培养方案跟电气类其他专业有很大的不同,跟光电子和微电子的课程更为接近,就是说物理的内容偏多。大家选择的时候小心一些。不过,就业还是可以的。

天津工业大学的曾经课程是:

电路理论、信号与系统、模拟电子技术、数字电子技术、微机原理及接口技术、通信原理、大规模可编程逻辑器件设计、半导体物理、半导体器件基础、计算机通信网络、半导体集成电路、集成电路工艺原理、半导体照明概论(双语)、电气照明技术、照明系统的光学设计、照明控制工程、半导体照明散热设计与分析以及化合物半导体材料与器件等。

我这里用了“曾经”,原因是2018年之前,天津工业大学把这个专业放入了电气类里,但现在电气类里没有这个专业了,可能放入了光电子相关的专业,但不再用光源与照明这个专业名称。

下图是各个学校的开设情况,有的在电气类专业,有的在电子类专业。

电气工程与智能控制

这是个2012年的新开的特设专业,属于应用型本科专业。电气工程与智能控制的专业跟电气工程及其自动化非常类似,最大的区别就是电气工程与智能控制更重视弱电,智能控制方面的内容更加强了。

主要课程包括:电路、自动控制原理、电力电子技术、电力系统分析基础,电力系统自动装置,智能电网信息技术、电网监控与调度自动化、微网及其控制,电力系统继电保护,新能源发电技术等。

电机电器智能化

我们先看电机与电器。电机与电器主要是电机与电器的设计、制造、控制等等相关内容。现在再加上智能化,就是智能化的电机电器的使用。

电机电器智能化是上海电机学院开设的专业,属于特设专业。上海电机学院属于应用型本科,因此,主要是培养应用型人才,就是使用、管理智能化的电机或者电器。

电缆工程

电缆工程也是特设专业,是河南工学院第一个开设的。我国是电缆生产第一大国,所以河南工学院这个专业的就业非常好。

主要课程包括:电路、电磁场、电子技术、电力电子技术、电机学、机械基础、机械制图与CAD、计算机应用技术、现代电气控制技术、电介质物理、电气绝缘结构原理与设计、电气绝缘测试技术、电缆工艺原理、通信电缆设计与制造、光纤光缆制造、绝缘化学基础、电缆材料等。

能源互联网工程

这是2020年新开设的专业,这是现在的一个发展热点。它包括的内容很多,包括传统的发电,也包括新能源,太阳能、风能、水能等,也包括输配电的智能电网、智能储能、智能家居、智能建筑,甚至还包括碳排放交易、电力交易等等。

新开设的学校有上海电力大学,这个专业究竟如何发展,还需拭目以待。

英国留学热门专业!就业前景一流的电子电气工程专业解析

电子电气工程 是研究电能的生产、传输、分配、使用和控制技术与设备的工程领域。其工程硕士学位授权单位培养从事电能生产、传输、分配、控制、检测、保护及其使用过程中理论、技术和设备的研究、开发、设计的高级工程技术人才。英国在Electronic and Electrical Engineering电子电气工程方面,国际地位很高!毕竟很多重要电子电气厂商都在英国起源或者开设研究机构,比如ARM,Filtronic, Wolfson,Silicon Radio,MED,REED,NEW Events Ltd.等……

关于EE和EEE 电子工程为Electronic Engineering,电气工程为Electrical Engineering,二者的缩写都为“EE”。两个E其实是不分家,很多基础课程学习都是一样的,只不过在课程设置上各有侧重。在英国,有的学校会将这两个专业分开授课,但两个专业如果是合并在一起的话则为Electronic and Electrical Engineering,缩写是“EEE”。

去英国大学读电子电气工程专业,可以和行业领域大牛近距离接触,对未来求职有深远影响!

最新的2023年QS电子电气工程专业排名 中,有14所英国院校位列世界Top150 ,如下图:

为大家推荐以下开设MSc Electronic and Electrical Engineering电子电气工程硕士专业的英国大学

#1 杜伦大学 Durham University

杜伦大学MSc Electronic Engineering电子工程硕士专业 ,旨在能够让学生将来能够在电子工程领域担任需尽责、创新性、挑战性及有趣味的工作,侧重于教授电子工程关键领域,学生有机会学习技术知识外,还有机会通过个人研究、开发项目和小组设计项目进行应用理论实践操作。

开设的必修课有:

无线电及数码通讯,高级电子测量,通讯网络,高级电子技术,光子学等,考核方式:研究报告、小论文、口试等。

入学要求:

包含核心电子工程课程的专业背景;2:1学位;雅思6.5,单项不低于6.0

杜伦还开设有MSc Electrical Engineering电气工程硕士专业 ,旨在能够让学生将来能够在电气工程领域担任需尽责、创新性、挑战性及有趣味的工作,侧重于教授电气工程关键领域,学生有机会学习技术知识外,还有机会通过个人研究、开发项目和小组设计项目进行应用理论实践操作。

必修课有:

电能转换,电力电子,智能能源网络,可再生能源技术,未来汽车等,考核方式:研究报告、小论文、口试等。

入学要求:

入学要求:包含核心电气工程课程的专业背景;2:1学位;雅思6.5,单项不低于6.0

#2 利兹大学 University of Leeds

利兹大学MSc (Eng) Electronic and Electrical Engineering电子电气工程硕士专业 ,旨在为学生提供现代电子学的跨学科知识基础,包括电源,通信,控制和嵌入式处理器。有机会掌握电子电气工程学科知识,培养实验室技能和全球电子行业意识。

开设的必修课有:

现代行业实践,编程,个人项目等,考核方式:小型项目、案例研究、技术报告、presentation,随堂测试及课程作业等。

入学要求:

电子/电气工程、机电一体化、计算机或相关专业背景;2:1学位,针对中国学生要求认可list内本科院校均分75%,并且在相关模块,如电子/电气工程取得高分;雅思6.5,单项不低于6.0

#3 格拉斯哥大学 University of Glasgow

格拉斯哥大学工程类课程开设时间比较早,格拉的MSc Electronics and Electrical Engineering电子电气工程硕士 专业,旨在为学生提供广泛的专业领域研究知识,并应用于解决行业问题,涉及到的内容从电力供应到高速电子先进系统控制,学生可选择9月/1月入学。

开设的必修课有:

综合系统设计项目,毕业设计,其他都需要学生自行选修,考核方式:考试、实验报告、小论文等。

入学要求:

工程学科或物理科学/数学相关专业背景;2:1学位,也接受2:2学位且数学+相关核心模块分数较高的学生;雅思6.5,三个单项6.5,或者雅思6.5,写作6.5,其他单项不低于6.0

#4 南安普顿大学 University of Southampton

南安普顿大学EE相关专业开设的比较全面,从电子工程到无线通信都有,今天介绍的MSc Electronic Engineering电子工程 ,详细来说就是微电,主要涉及大家熟悉的模拟电路和数字电路设计、半导器件和芯片的相关设计。这个专业经由IET英国工程技术学会认证,旨在培养学生电子工程相关知识,为学生提供最新的技术,技能和工具,帮助未来从事工作时足以应对新兴经济和社会方面的挑战。

开设的必修课有:

项目、项目筹备,其他都是选修课,考核方式:课程作业+考试。

入学要求:

电子工程或相关背景;2:1学位;雅思6.5,单项不低于6.0

#5 诺丁汉大学 University of Nottingham

诺丁汉大学EE相关专业很多,从电气工程到电子电气工程,再到电力电子及驱动,比如MSc Electrical Engineering电气工程硕士专业 ,该研究范围比较广:电力网路、电机、电机驱动与控制、能源转换、电力电子转换器与设计、现代调速方法等,还覆盖了交通及再生能源电力系统领域。该专业经由IET英国工程技术学会认证,有利于学生成为IET认证工程师。

开设的必修课有:

电子与电气基本原理、高级工程研究项目组织与设计、毕业设计,其他均为选修课,考核方式:课程作业、考试、随堂测试、在线考试等。

入学要求:

电气工程或相关专业背景,申请人应具备数学、电路、电力电子、电网/系统、控制工程、电机或相关关键技术模块。MSc Electrical and Electronic Engineering电子电气工程硕士专业 ,主要研究电子设计、通信、软件工程、电力与分配、电机和可再生能源系统等。学生不仅可以学习电子电气工程相关内容,还可以深入了解电子电气工程相关的现代技术,同样是由IET英国工程技术学会认证。

开设的必修课有:

电子与电气基本原理、研究项目组织及设计,毕业设计,其他为选修课,考核方式:课程作业、考试、随堂测试、在线考试等。申请要求:电气电子工程或相关专业背景,申请人应具备数学、电路、电力电子、电机、模拟电子、集成电路、仪器仪表、控制工程或相关关键技术模块。

以上专业均要求:

2:1学位;雅思6.0,单项不低于5.5,需要缴纳£50的申请费

#6 谢菲尔德大学 University of Sheffield

谢菲尔德大学EE专业也比较多,重点推荐MSc(Eng) Electronic and Electrical Engineering电子电气工程硕士专业 ,侧重于培养学生对电子设备及系统的深入了解,有利于将来从事相关行业或研究工作。

开设的必修课有:

该专业除了调查研究计划和工程研究与设计项目为必修课之外,其他均为必修课,全凭自己喜欢选择课程来学习,灵活性较大,考核方式:考试、课程作业,毕业前完成一篇大论文+海报展示。

入学要求:

电子与电气工程、物理、数学和其他涉及重要数学能力和相关技术模块的工程相关专业背景,数学模块和技术模块方面很强;2:1学位;雅思6.5,单项不低于6.0

总体来看,电子电气工程专业竞争激烈,仅达到最低要求不能保证录取。

相关问答

电子 电器 应用 与维修 专业 学什么?

电子电器应用与维修,包括的了几乎所有家用电器的原理与维修。一般来说需要了解和掌握以下几个方面的知识和技能:电子技术基础、电工基础、小家电(如:电饭锅、...

南通大学 电气工程学院 怎么样?设有哪些 专业 ? 申请方

[回答]~接下来我为大家简单介绍一下我们南通大学的电气工程学院开设的专业以及研究情况专业设置:自动化、电气工程及其自动化、电气工程与智能控制、建筑...

浙江大学 电气工程学院 怎么样?设有哪些 专业 ? 申请方

[回答]~接下来我为大家简单介绍一下我们浙江大学的电气工程学院开设的专业以及研究情况专业设置:电气工程及其自动化-本科、自动化-本科、电子信息工程-本...

电子 电器对口 专业 有哪些?

电子电器对口的专业主要有**电子电器应用与维修**。这个专业主要涉及电器维修、电路原理、电器设备的维护和修理等方面的知识。以上信息仅供参考,如有需要,建...

电子 电器 应用 与维修 专业 好吗? 电子 电器 应用 与维修 专业 好学吗?

电子类专业学好还是有些难度的,就业前景不错,毕竟当代是电子时代,而且是一个长期学习不断更新的专业。电子电器应用与维修专业属于电子信息大类,是技术类的...

电子 电器 应用 与维修 专业 简称什么?

答:你好,就叫电子电器应用与维修专业。电子电器应用与维修,包括的了几乎所有家用电器的原理与维修。一般来说需要了解和掌握以下几个方面的知识和技能:电子...

光电信息科学与工程是干嘛的

[回答]光电信息科学与工程专业是将原属于电子信息科学类的光信息科学与技术、光电子技术科学专业与原属于电气信息类的信息显示与光电技术、光电信息工程...

应用电子 技术是学什么?

应用电子技术专业是电子技术、通信技术与计算机应用技术相结合的复合型专业。本专业职业基础课程有电工技术、模拟电子技术、数字电子技术、电子线路CAD、电子...

电子 电器 应用 与维修在大专叫什么?

在大专也叫这个称呼。电子电器应用与维修是在一些大学里开设的一门专业学科,在业内我们对这方面知识也是这样称呼的,从本专业培养出来的人才是能够在电子电器...

电子电气专业 就业前景怎样?

电子电气专业,这是一个非常优秀专业,电子电气专业的就业前景是非常广阔的,就业岗位,就业机会都非常充足,每年电子电气专业毕业大学生都是抢手货,就业率在90...

标签:

相关阅读