电子发票应用系统登录账户 新电子税局如何登录电子发票服务平台进行发票抵扣勾选呢?

小编头像

小编

管理员

发布于:2026年04月14日

105 阅读 · 0 评论

新电子税局如何登录电子发票服务平台进行发票抵扣勾选呢?

你好,申税小微,新电子税局上线后,如何登录电子发票服务平台呢?发票抵扣勾选的操作能介绍一下吗?

收到!今天,申税小微就和大家一起了解一下相关操作↓↓↓

Part.

1

登录全国统一规范电子税务局(以下简称“新电子税局”),滑动页面至【税务数字账户】部分,选择【发票业务】即可登录电子发票服务平台。

Part.

2

新电子税局试点纳税人的发票账户页面与原【税务数字账户】有所变化。

注意

原电子发票服务平台【税务数字账户】功能更名为【发票业务】。

1

对于数电票开票和用票试点纳税人,系统展示【开票业务办理】和【用票业务办理】两大板块。

图1: 新电子税局试点纳税人登录电子发票服务平台发票业务(开票+用票)

2

对于数电票用票试点纳税人,系统仅展示【用票业务办理】板块。

图2: 新电子税局试点纳税人登录电子发票服务平台发票业务(仅用票)

对于有抵扣勾选需求的纳税人,发票抵扣勾选操作路径为:【发票业务】——【用票业务办理】——【发票勾选确认】办理进项发票的抵扣勾选。

如果要了解原先电子发票服务平台上方的纳税人信息、纳税信用级别和纳税人标签等信息,可以点击【账户概览】查看。

原先电票平台税务数字账户上方的纳税人标签移动至【账户概览】上方。

Tips

请在增值税一般纳税人申报前对已勾选的增值税扣税凭证进行统计确认!没有确认统计则进项勾选不生效,会出现“一窗式”比对不通过,影响您单位赋额的恢复和开票。

供稿:章煜

制作:赵丽云

如何登陆平台下载电子发票

为了增强电子发票的稳定性,百望公司对电子发票平台进行了迁移,迁移后新开具(上传)的发票将会上传到新平台。

登录新平台下载电子发票的方法:

1、输入网址www.baiwang.com(建议将网址保存为书签),点击登录--选择企业登录,输入账号、初始密码123456,点击登录(如点击登录没反应可更换浏览器试试,建议用火狐浏览器)。

2、首次登录需要修改密码,输入您的手机号码--点击获取验证码--输入手机短信收到的验证码--输入新密码和确认密码--点击确认。

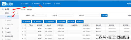
3、登录后,在首页点击“销项管理--云开票--查询统计--发票查询”,可以勾选需要下载的发票点击电子票下载。

如您需要下载之前上传到旧平台的发票,需要登录旧平台上下载,具体步骤如下:

1、输入网址www.bwfapiao.com,选广东点击右上角的登录,选择企业登录,账号为税号,密码为6个1或者6个6。

2、登录后,点击查询统计,选择您要下载发票的月份,或输入信息搜索,搜索到后点击下载。

(如果您电脑上原本安装了微开票也可点击“我的电子票”进入下载之前开具的电子发票)

温馨提醒:上传到哪一个平台就需要登录到哪个平台下载;如您区分不清楚是上传到哪个平台,可以两个都登录查询一下。

相关问答

增值税专用 发票电子化 试点开票软件(税务UKey版)操作指引_中...

[回答]增值税专用发票电子化试点开票软件(税务UKey版)操作指引及纳税人端系统操作手册(上海税务2020版)增值税专用发票电子化试点开票软件(税务UKey版)操...

数电开票怎么 登录 ?

1数电开票登录方式是通过电子税务局网站进行登录。2数电开票需要登录电子税务局网站,原因是该网站提供了税务相关的在线服务,包括开具发票、申报税款等。通...

如何在网上申领 电子发票 ?_快账

要在网上申领电子发票,首先要确定您所在省市是否已经开通电子发票系统服务,确定开通后,可前往对应省市的官网查看申领电子发票的相关须知和步骤,首...

电子 税务局怎么登入勾选平台呢_快账

/步骤1登录电子税务局,选择我要办税模块中的增值税发票综合服务平台。电子税务局如何勾选认证进项2进入增值税发票综合服务平台,选择发票抵扣...

电脑开票里的 登录 名是什么?

这个登陆名一般就是你公司保税的企业名,这个好像在税务局安装好开票系统直接会给你账号密码的这个登陆名一般就是你公司保税的企业名,这个好像在税务局安装好...

数电开票员授权成功后怎么登陆?

数电开票员授权成功后,可以按照以下步骤登录系统:首先,打开数电开票系统的登录页面。然后,输入正确的用户名和密码,这些信息通常由管理员提供。接下来,点...

开票软件密码忘记怎么办?_中国会计网

[回答]这里要注意的是一定要带上金税盘、公章一起去。二、国税部门的营业厅有专门负责金税盘税控系统的窗口,到窗口后跟工作人员说明情况,并且提供金税盘...

开税务票怎么在网上操作?

开税务票在网上操作方法步骤登录电子税务局,点击菜单栏中“我要办税”中的“发票使用”模块,在左边菜单栏里选择“发票代开”,然后在弹出页面右侧选择“增值...

支付宝怎么开 电子发票 呢?-其他理财知识问答-我爱卡

[回答]如果是开个人发票:1.首先打开支付宝APP,登录个人账号2.点击主页面的“全部”字样,可以看到“便民生活”栏;3.点击“发票管家”,可以看到我的发票和...

kelun 电子发票 怎么在电脑上 登录 在打印?

1、电脑登录自己的移动官网,点击左下角的用户服务选项进入。2、进入用户服务选项界面之后,找到电子发票与打印的选项,点击。3、然后进入新的界面,找到自己...

标签:

相关阅读